当前位置 : 首页 > 公众号 > 20年企业订阅号 娱乐八卦 剧情分析类 粉丝10w+ 引流粉 诚意出售

订阅号 20年企业订阅号 娱乐八卦 剧情分析类 粉丝10w+ 引流粉 诚意出售

商品编号:WX2022011411105019700
  • 账号领域: 娱乐
  • 粉丝数量:10W+
  • 粉丝单价:0.5元
  • 头条阅读量: 2000+
  • 男女比例: 女粉多
  • 流量主收益:
  • 账号类型:订阅号
  • 是否开通留言:已开通
  • 注册时间: 2021年
  • 认证主体: 公司
  • PV值: 3%-5%
  • 粉丝地区: 不限
出售价格:5万
  • 1对1服务
  • 担保交易
  • 极速退款
  • 支持线下
  • 确认后放款
  • 发布时间: 2022-01-14 11:10
  • 交易方式:居间交易

微信扫码沟通更流畅 →

顾问:佳婷

顾问电话:13408329331

工作经验:4年

联系QQ:3131664898

账号详情

购买流程

常见问题

服务费收费标准

交易金额一万一下是300元服务费,一万以上是收取交易金额的5%

公众号购买不满意可以退款吗?

1.如果支付定金后发现公众号后台数据和网站显示数据不同可立刻退款,如果验号后发现账号和自己想购买的账号内容不太符合我们可以提供其他账号,如果一个月内没提供合适的账号可全额退定金。2.如果您在我们网站了解公众账号支付全款并签订合同后,我们的客服给您描述的信息与您看到的帐号实际信息相符,但由于您个人原因,单方面违约,不想购...

公众号怎么注册?

一、注册开通公众号注册公众号之前需要准备的东西:一个邮箱、一个手机号、个人身份证号或者营业执照、绑定身份证的微信1、注册公众号,其实比较简单,首先在网页上搜“微信公众平台”,找到微信公众号官方平台,点进去,会出现登录界面。再点击上方的立即注册。2、注册界面了,需要用邮箱申请,填写好邮箱之后,会有验证码,依次填写密码进入...

微信公众号转让在交易平台上靠谱吗?

在交易平台好过私下转让,这是肯定的,平台作为中间桥梁,起到担保作用,不管对于买家或者卖家,都是比较有利的,市场上不错的像奕森格新媒体这类,都可以选择。

公众号怎么运营增粉?

不少人在运营微信公众号的时候,以为会操作微信公众号后台、文章输出也还不错,就万事大吉了,结果忙活了好久,粉丝量却升得很慢。殊不知,自己一直没发现问题所在。在这里,我给大家分享运营公众号一定要做好的四个步骤。01找准定位当你运营一个公众号时,首先要找准它的定位。用户在看你的公众号时,一定是选择自己感兴趣的文章来看,不会对...

公众号账号迁移,哪些可以保留,哪些不可以?

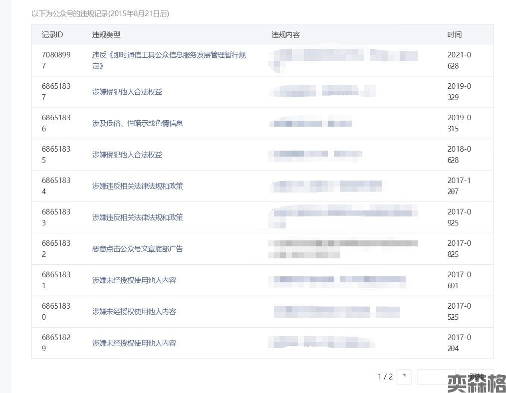
只能迁移粉丝 文章 留言功能 精选留言 原名称 点赞数 微信号 原创标识会迁移 违规记录默认迁移。

哪里可以购买公众号?上奕森格

如果你是要卖公众号,可以上奕森格,平台担保另外你一定是要通过公众号迁移,把买的主体信息变更为自己的,但是目前这个主体,只支持企业主体接受迁移。因此,你一定要有自己的营业执照,个体户和公司都可以。这样才能把买的号的粉丝或者文章变到你的名下

公众号可以转让吗?

公众号是可以转让的,不管是个人公众号还是企业公众号都是可以转让,目前微信是放开了公众号迁移的方式来做转让,题主是个人公众号就只能是通过公众号迁移的方式转让了,如果是公司企业公众号,就可以通过转让公司的方式来转让公众号,因为公众号的主体是跟公司或者相关的:如果是做完了公众号迁移,那么原主体就会被注销的,这公众号就跟你无关...

公众号交易平台有哪些?

市场上现在还是有很多公众号转让的平台的,但是也有很多不靠谱的平台存在,现在转让公众号账号的平台这么多,可以说是让人眼花缭乱,选到一个靠谱的平台还是有一定的难度的,因为稍不注意就会选到不靠谱的,大家在转让的时候需要把账号交由平台审核,审核通过之后才会将你的账号放在网站上面。该平台也是为了给客户一个保障。公众号交易转让可以...

我怎么知道我公众号值多少钱,有固定价格标准吗?

不同的公众号粉丝数据等都不一样,没有一个固定的价格标准。就算两个相同粉丝数量同类型的公众号价格也不是一样的。因为可能两个号的粉丝质量不同,活跃度不同,号主的心理价值不同。想卖到一个合适的价格可以说自己的一个心理价格期许再咨询下平台客服,有买家了双方协商。希望大家都能卖一个好价钱

相关优质公众号推荐 查看更多>>

15万粉丝 UV5%-8% 其他

粉丝数:15万 头条阅读:10000+ 男女粉比例:男粉多 售价:¥16万 更多>>

0.6万粉丝 UV3%-5% 科技

粉丝数:0.6万 头条阅读:100+ 男女粉比例:男粉多 售价:¥0.6万 更多>>

1.1万粉丝 UV3%以下 文学

粉丝数:1.1万 头条阅读:1400+ 男女粉比例:女粉占比20-30% 售价:¥1.2万 更多>>